04.11.2025
{TSENG ET4000} Wir schreiben das Jahr 1992. Die PC-Welt wird bunter und hochauflösender - grüne und bernsteinfabene Monitore gehören schon der Vergangenheit an und von den tollen CGA-Farben haben wir uns mental erholen können. EGA war nur eine kurze Episode, jetzt ist VGA angesagt. TSENG liefert die Karten, die im Nachgang als der Quasi-Standard der leistungsstärksten VGA-Karten ohne Beschleunigung gelten: ET4000. Kein 3-D, keine Shader, kein Gedöhns, dafür rasend schneller Video-RAM-Zugriff. Die TSENG ET4000 war DIE Grafikkarte, die damals jeder haben wollte. Die Karten waren eigentlich alle gleich aufgebaut: ET4000-Chip, 1MB RAM, BIOS-ROM, SYNC-ROM, programmierbarer Takt-PLL und RGB-D/A-Wandler. Diese hier besticht sogar durch einen Schreibfehler beim Sync-ROM-Aufkleber.


Der Gegenstand der Begierde: ET4000AX

Die hier ist zwar "Super-VGA", trotzdem ist das Gleiche drin. Marketing halt...


Tuning by Papieraufkleber - das macht die Pixel auch nicht schneller...

Und die Targa WIN+ unterscheidet sich auch nur durch etwas höher integrierte RAM-Bausteine.


Die Titelseite des ET4000 Datenbuches:

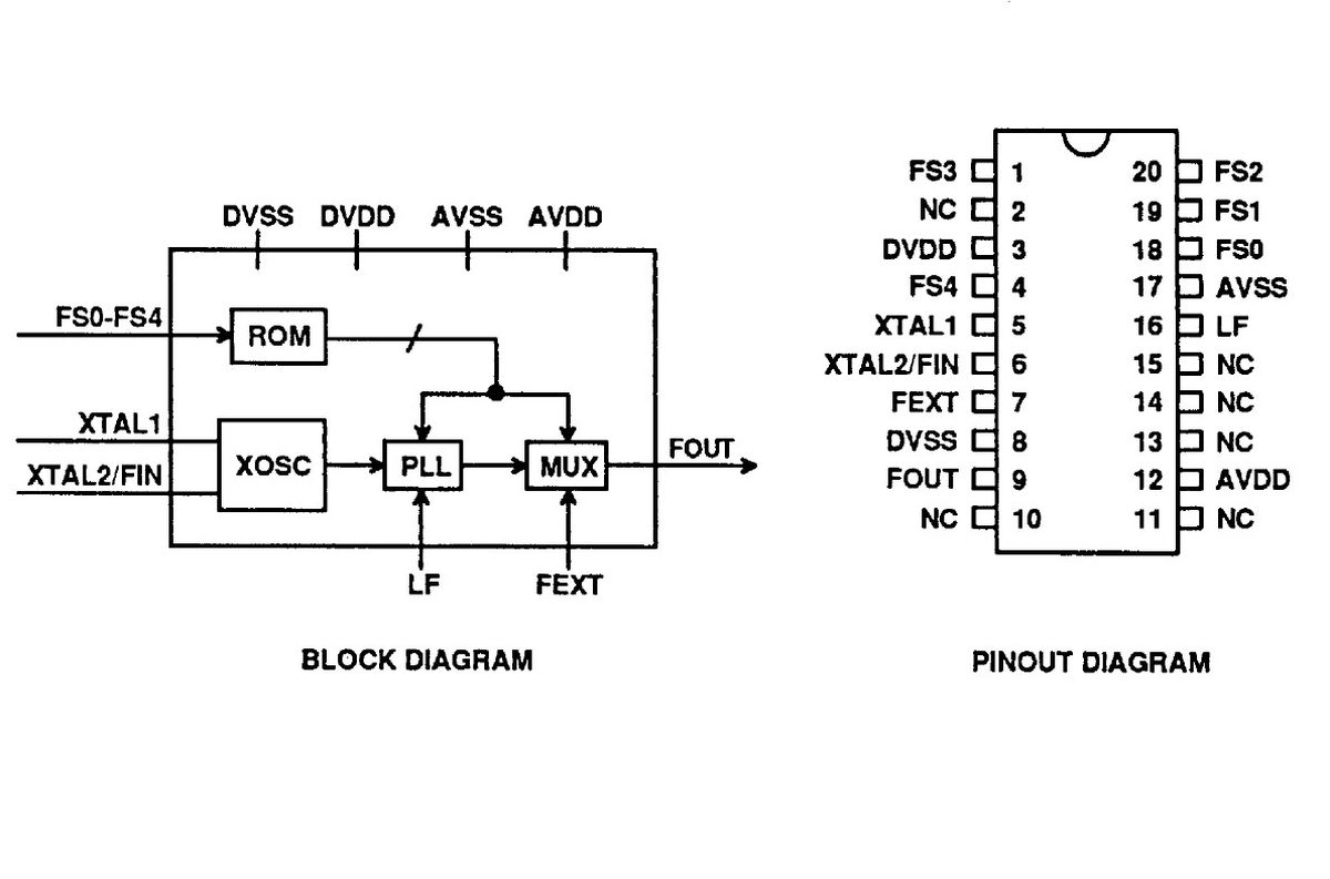
Chrontel CH9201 - ein PLL für alle wichtigen VGA-Frequenzen. Welche Frequenzen da wirklich rauskommen, entscheidet das interne PROM. Alternativ auch als ICS2494. Und da die Dinger vom Hersteller kundenspezifisch programmiert sind, gibt es auch nur sehr rudimentäre Datenblätter dafür.

Der MUSIC TR9C1710 bietet videogerechte fixe Digital-nach-Analog-Wandlung inclusive eines RAMs für die Paletteneinträge.

|